我们提供安全,免费的手游软件下载!

免费游戏下载_手机应用下载_游戏攻略_排行榜 - 冰河游戏 >

首页图标 当前位置: 主页 > 安卓软件 > 生活实用

新服办App 软件封面 - 冰河游戏

新服办App

类型:生活实用 适合系统:安卓系统

大小:54.77 MB 更新时间:2026-04-16 08:06:16

推荐指数:新服办App 推荐指数5星

软件简介

新服办App是基于新疆政务服务一体化平台全区掌上办事官方唯一入口软件,囊括"掌上办事"、"掌上咨询"、"健康码服务"以及查询社保、查询公积金、查询医保等便民服务功能。个人或企业用户都能在此找到已实现在线办理的所有政务服务事项,体验个性化掌上办事服务的便利!新服办软件内还提供了社区周边美食、酒店、电影、购物等海量商户信息,有需要的用户欢迎下载体验!

软件特色

1、政务服务

老年证、再生育证、就业失业登记证、计划生育健康证、五保证等在线办理,可在线查询办事指南,一次就办成,何必跑多趟!

2、公积金查询

随时随地查询你的公积金,买房、装房心中有数!

3、网上预约挂号

看病急,排队难,'小事儿'预约挂号在线办理帮您和家人解决挂号难题。

4、公共资源缴费

水费、天然气费、有限电视费、小区宽带在家轻松线上缴费。

新服办App功能介绍

1、首页

在首页,用户可以快速点击常见热门办事功能模块,包括社保、医保、公积金等。

2、办事

更加详细划分的事务种类,还有各种不同分类。

3、12345

便民服务热线,倾听收集每一位民众的反馈。

4、我的

在这里用户可以查看自己办过那些事、投诉的进度、预约详情等。

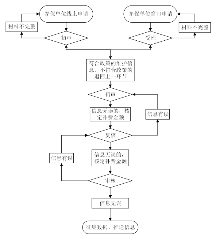
新服办App社会保险费断缴补缴申报流程

职工社会保险费断缴补缴申报流程图:

软件亮点

1、一站式政务服务,减少线下排队时间。

2、便民生活服务,提升本地生活便利性。

3、政务资讯与互动,增强公众参与感。

4、保障用户信息安全,确保业务办理真实有效。

软件截图

新服办App 软件截图1
新服办App 软件截图2
新服办App 软件截图3
新服办App 软件截图4
新服办App 软件截图5
新服办App 高清截图1 新服办App 高清截图2 新服办App 高清截图3 新服办App 高清截图4 新服办App 高清截图5